来源:考试1002024-06-12 13:55:32阅读数:2364
一级消防工程师报考专业要求
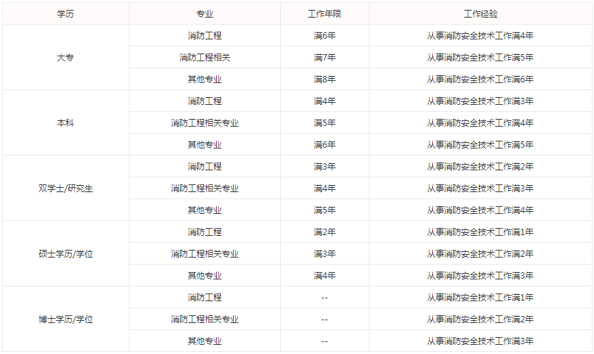
任何专业的人员都可以报考一级消防工程师考试。该考试报名条件考虑到消防工程专业及有关专业与消防工作的密切联系性,同时结合消防专业技术工作的特征与要求,将考生的专业背景分为“消防工程专业”“消防工程相关专业”和“其他专业”3类,不同专业、不同学历层次人员在报名时满足不同的工作年限要求即可。
一级消防工程师报考条件具体如下:

一级消防工程师报名时间2024年
根据《2024年度专业技术人员职业资格考试重要提示》可知,2024年一级消防工程师考试报名时间预计为9月1日至20日。各地报名时间有所差异,详细时间以本地考试管理机构发布通知为准。

编辑推荐:
