来源:考试1002026-03-03 14:12:20阅读数:4929
2026年内蒙古初会准考证打印入口官网开通时间为5月6日至5月15日,届时考生应及时登陆全国会计人员统一服务管理平台,完成准考证打印,并妥善保管。
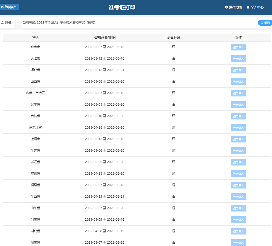
2026年初级会计考试准考证打印入口:全国会计人员统一服务管理平台(ausm.mof.gov.cn)。考试服务下面的“准考证打印”模块,选择对应的考试级别、省份进入准考证打印界面。

第1步:登录全国会计人员统一服务管理平台https://ausm.mof.gov.cn/index/
第2步:登录成功后,点击“会计专业技术资格考试”或考试服务下的“准考证打印”按钮进入
第3步:选择“全国会计专业技术资格考试(初级)”点击进入
第4步:选择报考省份,选择“点击进入”按钮进入下一级页面,核对准考证信息是否有误。请认真核对初级会计准考证上的姓名、照片、准考证号、身份证号等信息,确认无误后,点击打印,即可成功打印。

1.使用激光打印机打印,确保照片、姓名、准考证号、身份证号等信息清晰无误。
2.统一使用A4纸,不分正反面,黑白或彩色均可。
3.禁止采用截图方式打印准考证,确保准考证和考试须知都要完整打印。
4.不得擅自更改准考证的字体样式、照片等内容。
5.建议使用IE浏览器进行准考证的下载和打印。
6.如果系统提示“无此人准考证数据”,可能是由于未缴费或身份证号填写错误,需及时联系报名机构核实。
问:考生的准考证信息如何分配?
答:准考证上的考试时间、考场号等信息由财政部全国编场系统自动分配。
问:考试前遗失了身份证怎么办?
答:遗失身份证的考生,参加考试前须及时到公安部门补办临时身份证或由公安部门出具身份证明材料(带本人照片、身份证等相关信息)。
问:为什么打印准考证时提示无此人准考证数据?
如果系统提示“无此人准考证数据”有两种可能:
一是考生审核通过后没有缴费,没有成功报名。如果是他人或培训机构代报名,请考生向代报人或培训机构核实是否已经缴费,如果没有缴费,则视为放弃报考资格,不能参加考试。
二是报名时身份证号填写错误。如发现是错误的,请及时联系财政局处理。
2026年初级会计资格考试于5月16日至18日举行,共6个批次,采用无纸化考试方式,《初级会计实务》科目考试时长为105分钟,《经济法基础》科目考试时长为75分钟,两个科目连续考试,时间不能混用。
| 级别 | 考试日期 | 考试时间及科目 |
| 初级 | 5月16日至18日 | 08:30——11:30 初级会计实务 经济法基础 |
| 14:30——17:30 初级会计实务 经济法基础 |
报名参加初级会计资格考试人员均在报名所在地参加考试,所有考生的考试批次和考(场)点由系统随机安排,具体以准考证上显示信息为准。
学习资料推荐
2026年初级会计备考已开始,想要参加2026年初级会计考试人员注意,如何3个月通过初会?
点击下图进入2026年初级会计职称 如何用3个月高效通关两科,解决核心痛点
