来源:考试1002025-03-13 13:28:00阅读数:2969
2025年上海一级消防工程师报考条件
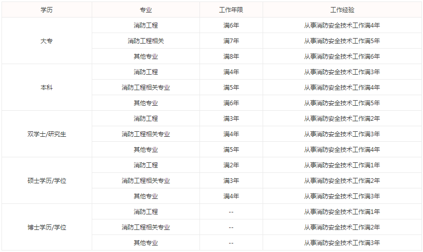
凡中华人民共和国公民,遵守国家法律、法规,恪守职业道德,并符合下列报名条件之一的,均可申请参加一级注册消防工程师资格考试:

报考条件中,消防安全技术工作是指消防技术咨询与消防安全评估、消防安全管理与消防技术培训、消防设施维护保养检测、消防安全监测与检查、火灾事故技术分析等消防技术工作;学历、学位是指国家承认的国民教育系列学历、学位,包括参加普通高等教育、成人高等教育、电大开放教育、网络远程教育、高等教育自学考试所取得的学历、学位等。工作年限、从事消防安全技术工作年限可累计,计算截止日期为考试当年度的12月31日。
上海一级消防工程师报名流程
(一)注册账号
考生须提前完成用户注册。注册时应确保姓名、证件类型、证件号码、手机号码输入准确,并牢记用户名和密码。
以往已在该报名系统注册的考生无需重新注册,报考前应提前登录报名系统,补充完善相关信息。
特别注意:考生注册时必须登记本人日常使用的手机号并保持手机畅通,随时关注主管部门或考试机构发送的短信通知(由于短信通知可能被手机系统拦截,请注意查看是否有被拦截的考试相关信息)、及时接听来电,当本人手机号码发生变更时应及时登录报名系统更新手机号码。如因手机号码错误、未及时关注短信或来电而影响报名和考试的,责任由考生本人承担。
(二)信息维护
考生注册后应尽快完成信息维护(上传照片、填写个人基本信息、学历/学位、工作经历、联系方式等),“账号信息完整度”为100%时才可进入考试报名。
考生应下载使用报名系统指定的“照片审核处理工具”,上传经该工具审核处理并保存后的本人近期彩色半身免冠正面证件电子照,照片底色背景为白色。报名照片将用于准考证、考场座次表、证书、证书查询验证系统,请考生上传照片时慎重选用,照片一经上传确认,不得更换。已在报名系统注册过的考生,仍使用原有照片。
网上报名系统将对考生身份信息、学历学位信息进行在线自动核查,考生可于信息提交24小时后登录报名系统查看核查结果,并在规定时限内进行考试报名(核查结果是否通过不影响考试报名)。建议考生预留充足时间,提前完成用户注册和信息提交,未注册或未完成核查的,无法进行考试报名。
(三)考试报名
考试报名网址为中国人事考试网(www.cpta.com.cn)“网上报名”栏目。
完成账号注册、信息维护以及在线自动核验的考生可在规定时限内进行考试报名,完成报名信息填报的考生须及时点击“保存”,并自行选择是否采用告知承诺制方式办理报名。
选择办理方式后应按照系统提示上传相关资料并点击“报名确认”。身份信息、学历学位等无法在线核查或在线核查未通过的报考人员,须按要求上传身份证件、学历学位认证报告等材料,报考级别为“免一科”的报考人员须按照系统提示上传相应证书等材料。不适用告知承诺制、未选择告知承诺制方式办理报名、撤回承诺申请的报考人员除以上资料外还须上传工作经历证明。
为加强专业技术人员职业资格考试报名证明事项告知承诺制事中监管,报考人员提交的境内高等教育学历学位信息如果无法通过在线自动核验,须按要求上传相关验证/认证报告,接受人工核查。具体操作方式参见中国人事考试网考生问答栏目(www.cpta.com.cn/question.html)“学历学位信息无法通过自动核验怎么办”“如何申请学历学位在线验证/认证报告”等相关内容。
考生务必确认本人符合报考条件并正确选择报考级别和考试科目,因报考条件不符或错误选报造成无法取得合格证书、成绩无效等后果的,责任自负。
特别注意:提交报名信息后当前报考状态栏中的“信息确认”按钮应当显示为蓝色。
(四)告知承诺
选择采用告知承诺制方式办理报名的报考人员应承诺本人已知晓证明事项名称、设定依据、证明内容和材料、考试组织机构的核查权利与报考人员的配合义务、承诺方式及不实承诺可能承担的法律责任等告知事项,已符合报考条件,填报的信息真实、客观,愿意接受考试组织机构的核查,愿意承担不实承诺的法律责任并接收处理。报考人员采用电子方式签署告知承诺书(电子文本),一经提交即具有法律效力,不允许代为承诺。
对已作出承诺的报考人员,身份、学历学位、所学专业等信息已经通过在线方式自动完成核查,且在资格考试诚信档案库无记录的,原则上无需再提供相关证明材料进行人工核查。报考人员作出承诺后,可在未报名成功且报名截止前撤回承诺。报考人员撤回承诺的,本年度该考试不再适用告知承诺制。在资格考试报名中存在虚假承诺行为的人员,不适用告知承诺制。按照《专业技术人员资格考试违纪违规行为处理规定》(人社部令第31号),存在严重违纪违规行为或特别严重违纪违规行为,被记入资格考试诚信档案库且在记录期内的人员,不适用告知承诺制。
(五)资格核查(全部在线进行)
在提交报考信息后,网上报名系统将对学历学位、所学专业、工作年限及专业工作年限等内容进行条件判断和在线核查,并根据不同的情况提示考生进行相应的操作。系统自动核查通过的人员无需人工核查。
不适用告知承诺制的、未选择告知承诺制方式办理报名的、撤回承诺申请的、身份信息、学历学位等无法在线核查或在线核查未通过的、报考级别为“免一科”的报考人员须按规定时限和要求接受人工核查(在线上传资料,无需前往现场)。
考生可于完成“报名确认”24小时后,重新登录网上报名系统,在“当前报考状态”中查询核查结果。如超过48小时未完成或未通过核查,或报名过程中有疑问,请考生及时联系网上报名时选择的报名点。
考试机构将在规定时间进行报考资格抽查复核,并将抽查复核中发现问题的人员设置为“核查不通过”。所有完成报名确认的考生应于2024年9月18日10:00重新登录报名系统查询核查状态,对人工核查或抽查复核结果有疑问的人员应于核对确认截止前联系报名点咨询,逾期视作报名不成功。
(六)核对确认
本次考试不收取报名考试费,考生须在规定时间进行网上核对确认。核对确认时,应再次进入报名系统,点击“查看当前报考状态”,当前报考状态栏中“报名完成”按钮显示为蓝色方可视为报名成功,同时确认本人符合报考条件、报考信息无误(特别注意报考级别和科目务必准确),并下载报名表备用。
